A bomba vertical contínua LW garante o gerenciamento eficiente de águas residuais contendo sólidos, sem preocupações com aplicações industriais ou de efluentes. O design vertical economiza espaço e evita obstáculos.
Item nº :
LWPedido (MOQ) :
1Pagamento :
Alipay PayPal westernunion T/T L/COrigem do produto :
ChinaCor :
CustomizedPorto de embarque :
shanghai shenzhen guangzhouTempo de espera :
please contact 504893184@qq.com or CP +8613696510409Pacote :
CustomizedMaterial :
Cast ironBomba de esgoto vertical anti-entupimento
Nossa empresa criou três linhas de produtos principais que compõem a série de bombas de esgoto verticais LW (WL). Essas bombas foram modificadas para atender a uma variedade de necessidades do usuário e situações operacionais, com base no modelo hidráulico da série de bombas de esgoto submersíveis WQ (anteriormente QW). Desde o seu lançamento, a série LW tornou-se conhecida e elogiada por seu design inovador e desempenho confiável no mercado.
Aplicação do produto
Estações de descarga de esgoto em áreas residenciais, sistemas de drenagem em estações de tratamento de águas residuais urbanas, estações de drenagem em sistemas de defesa aérea civil, instalações de abastecimento de água em estações de tratamento de água, descarga de esgoto em hospitais e hotéis, canteiros de obras de engenharia municipal, equipamentos de apoio à mineração e exploração, biodigestores rurais e irrigação agrícola são todos usos apropriados para este produto. Ele é capaz de transportar água limpa, meios corrosivos, esgoto e lixo que contenha partículas sólidas.
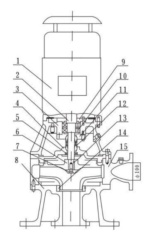
Diagrama estrutural

| 1 | Motor |
| 2 | Eixo de extensão |
| 3 | alojamento do rolamento |
| 4 | Tampa da bomba |
| 5 | retentor de óleo |
| 6 | Impulsor |
| 7 | Porca do impulsor |
| 8 | Base |
| 9 | Tampa do rolamento |
| 10 | Consequência |
| 11 | sede do selo mecânico |
| 12 | Selo mecânico |
| 13 | Chave |
| 14 | anel de desgaste do corpo da bomba |
| 15 | Corpo da bomba |