Projetada para confiabilidade, a bomba centrífuga autoescorvante de acoplamento direto ZXL oferece operação livre de manutenção e escorva automática eficiente. É uma solução versátil para uma ampla gama de aplicações, desde a transferência de água na agricultura até o manuseio de fluidos industriais.
Item nº :
ZXLPedido (MOQ) :
1Pagamento :
L/C T/T westernunion Alipay PaypalOrigem do produto :
ChinaCor :
CustomizedPorto de embarque :
shanghai shenzhen guangzhouTempo de espera :
please contact CP +8613696510409Peso :
please contact 504893184@qq.comPacote :
CustomizedMaterial :
Cast iron/Stainless steelBomba centrífuga autoescorvante de acoplamento direto
A série de bombas autoescorvantes de conexão direta ZXL é um produto inovador desenvolvido com base em tecnologias nacionais e internacionais avançadas. Como uma conquista pioneira na China, ela se compara aos principais padrões internacionais em termos de desempenho técnico, demonstrando significativo potencial de aplicação e perspectivas de mercado promissoras.
Vantagens do produto
Projetada para otimizar a transferência de fluidos em ambientes desafiadores, a bomba de acoplamento direto ZXL elimina a necessidade de instalações complexas. Seu design inovador dispensa válvulas de retenção ou de pé e proporciona autoescorvamento confiável com o mínimo de fluido. A unidade compacta e livre de vibrações apresenta dimensões 30% menores, vedações de carboneto de tungstênio resistentes ao desgaste e um motor com classificação IP54, tornando-a a solução ideal e de baixa manutenção para uso industrial e agrícola externo.
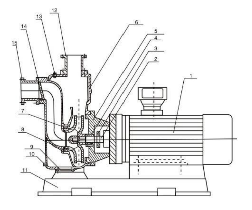
Diagrama estrutural

| 1 | Motor | Acoplado diretamente à bomba para transmissão de energia. Utiliza motores de marca reconhecida (o modelo CYZ-AL adota motores à prova de explosão). |
| 2 | Eixo da bomba | Coaxial com o motor. Possui um design de eixo alongado que garante concentricidade para um funcionamento suave (sem ruído/vibração). Cromado para maior durabilidade. |
| 3 | Anel defletor de água | Impede o alagamento do motor devido a vazamentos na vedação. |
| 4 | Selo mecânico | Fabricado em aço inoxidável, carboneto de tungstênio e fluoroborracha. O design balanceado, resistente a altas temperaturas e pressões, garante operação sem vazamentos, desgaste zero do eixo e ausência de acúmulo de incrustações. |
| 5 | Tampa da bomba | Conecta o corpo da bomba ao motor. |
| 6 | Corpo da bomba | Projetado com câmaras hidráulicas otimizadas (descarga/sucção/separação gás-líquido). Possui pés de montagem para uma instalação estável. |
| 7 | Impulsor | Projeto hidráulico de alta eficiência para um desempenho confiável. |
| 8 | Anel de vedação | Veda a junção entre o impulsor e o corpo da bomba. |
| 9 | Placa de cobertura inferior | Permite a remoção de sedimentos quando aberto. |
| 10 | Bujão de drenagem | Drena o líquido residual durante períodos prolongados de inatividade da bomba. |
| 11 | Placa de base | Fornece conexão estrutural e suporta a instalação do isolador de vibração. |
| 12 | Bocal de descarga | Conecta-se aos tubos de saída. |
| 13 | Válvula de enchimento de água | Repõe o líquido da cavidade quando insuficiente. |
| 14 | Válvula de retenção | Impede o refluxo quando a bomba é desligada. |
| 15 | Bocal de entrada | Conecta-se aos tubos de entrada. |